naviSelect
Pose-only 3D visual computation (CLL, Company-Level License, per year)
Pose-only 3D visual computation (CLL, Company-Level License, per year)
Couldn't load pickup availability
Patent US12094162B2
(VALID A YEAR SINCE PAYMENT FOR THE BUYING COMPANY WITH EMPLOYEES < 20; FOR LARGE COMPANY, THIS LICENSE IS NOT VALID AND A FORM OF CONTRACT IS REQUIRED)
https://patents.google.com/patent/US12094162B2
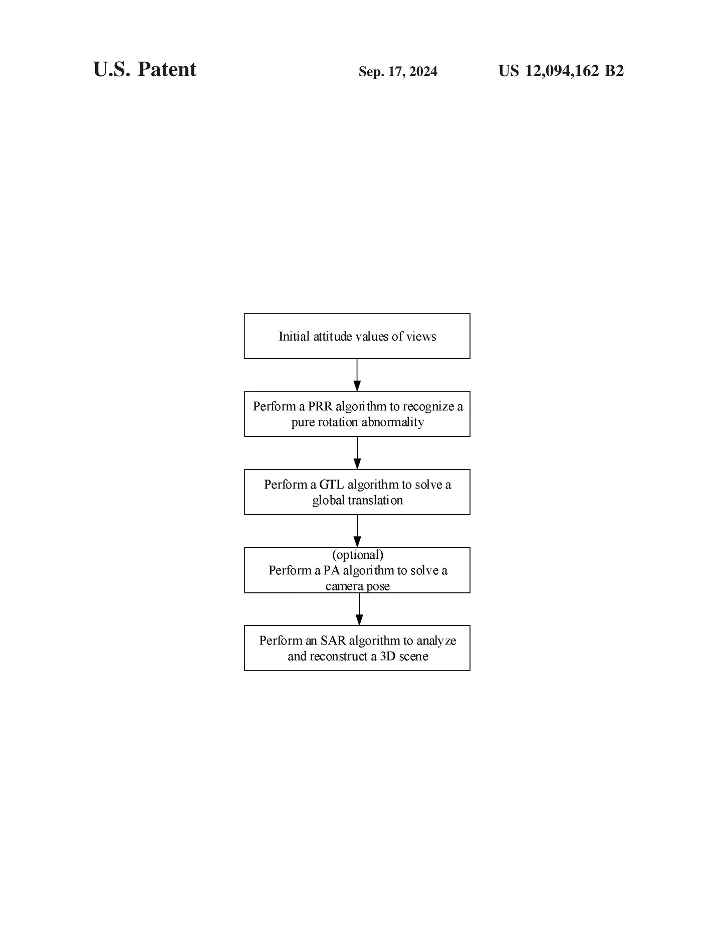
A pure pose solution method and system for a multi-view camera pose and scene are provided. The method includes: a pure rotation recognition (PRR) step: performing PRR on all views, and marking views having a pure rotation abnormality, to obtain marked views and non-marked views; a global translation linear (GTL) calculation step: selecting one of the non-marked views as a reference view, constructing a constraint tr=0, constructing a GTL constraint, solving a global translation (I), reconstructing a global translation of the marked views according to tr and (I), and screening out a correct solution of the global translation; and a structure analytical reconstruction (SAR) step: performing analytical reconstruction on coordinates of all 3D points according to a correct solution of a global pose. The method and system can greatly improve the computational efficiency and robustness of the multi-view camera pose and scene structure reconstruction.
Share











